
- 三菱plc選型手冊下載,三菱PLC資料查找
- 一味地崇拜別人,倒不如,高傲地欣賞自己。不要仰望別人,自己才是一道靚麗的風景。大家下午好,我是三菱代理商海藍小編阿Q,前幾天有粉絲朋友們在問三菱plc選型手冊資料,像PLC怎么選型,伺服電機怎么選型。很多工程師知道怎么選只是三菱...

- 三菱所有系列plc,三菱PLC型號及系列有哪些?
- FX1S系列:常用的幾款三菱plc三菱PLC是一種集成型小型單元式PLC。且具有完整的性能和通訊功能等擴展性。如果考慮安裝空間和成本是一種理想的選擇。 FX1N系列:是三菱電機推出的功能強大的普及型PLC。具有擴展輸入輸出,模擬量控制和通訊、...

- 三菱m8161是什么特殊寄存器?三菱plc和變頻器通訊為什么要用到M8161?
- 是特殊內部繼電器,設置數據格式,置on了就是16位數據格式,off是8位數據格式. 因為三菱plc 和變頻器通訊時,指定數據處理位為8位(即M8161=1), 使用變頻器通訊格式為A,指令代碼為HED,ASCI指令將運行頻率(由MOV H0BB8 M1000傳送...

- 三菱m8000是什么意思?
- M8000是run監視,使用表示plc運轉狀態的run監視,可利用于將指令的驅動條件以(正常運轉中表示)的外部表示上,即run監視a接點,只要plcrun中常on。m8000是上電導通。有的指令是不能與左側母線直接連接起來的。打個比方MC指令的輸入就是不能...

- 三菱中大型plc中q系列介紹
- 基本模式(Q00JCPU,Q00CPU及Q01CPU) ● 當使用Q系列的I/O模塊和智能功能模塊時,QCPU的基本模式都能獲得一個具有高性能、高功能和優越性能/價格比的緊湊系統。例如,將無需電源的Q5B擴展模塊與由電源、CPU和基板組合為一體的Q00JCP...

- 三菱plc的pwm指令如何用呢?(三菱plc的pwm指令用法)
- Q:三菱PLC編程中PWM指令怎么使用呢? 答: 三菱PLC中PWM指令:脈沖寬度調節指令,指定脈沖的周期或者頻率,調整脈沖ON接通時間的功能,脈沖ON的時間不能超過脈沖的周期,否則會出錯; 指令格式:PWM S1 S2 D;S1指定脈沖的寬度(單位ms...

- 三菱plc中的SUM指令如何使用呢(三菱plc的sum指令使用介紹)
- 三菱的ON位數統計指令SUM (D)SUM(P)指令,該指令是用來統計指定元件中1的個數。如圖4所示,當X0有效時執行SUM指令,將源操作數D0中1的個數送入目標操作數[D2中,若D0中沒有1,則零標志M8020將置1。 使用SUM指令時應注意: 1)源操作數可...

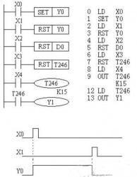
- 三菱plc復位,三菱FX系列PLC置位與復位指令(SET/RST)
- 三菱FX系列PLC置位與復位指令(SET/RST): 1、SET (置位指令):使被操作的目標元件置位并保持。 2、RST (復位指令):使被操作的目標元件復位并保持清零狀態。 SET、RST 指令的使用如圖1: 三菱FX系列PLC置位與復位指令(SET/RST)...

- 三菱PLC中子程序調用指令CALL究竟有多重要
- 子程序調用指令CALL的優勢:編寫好一個功能程序,可以在主程序中多個位置進行調用,從而避免了重復性的工作;類似于后面將要介紹FB功能塊和FC函數; CALL指令和CJ(跳轉)指令的區別:CALL指令調用完子程序后會返回到起始處;CJ跳轉指令則不...

- 三菱PLC結構化文本語言編程功能講解
- 三菱plc fx系列的結構化文本(st)語言編程功能講解 PLC有5種編程語言。三菱PLC一般常用其中的3種:LAD(梯形圖)、STL(語句表)、SFC(順序功能圖)。還有兩種不常用:FBD(功能塊圖)、ST(結構化文本語言). plc編程方法有幾種 1...

- 三菱Q系列PLC程序解密(三菱plc解密方法)
- 三菱Q系列PLC程序解密方法? 如果用戶忘記了PLC的密碼,將無法解碼。因為所有的參數都已經被加密了。這時,用戶應當初始化PLC的程序和密碼。 根據PLC型號不同,初始化PLC的方法也不一樣。用戶可以通過除去PLCCPU模塊中的電池的方法來...

- 三菱PLC輸入輸出通信模塊介紹,在哪些情況下使用模塊?
- 三菱PLC的輸入、輸出擴展模塊、還有通信模塊到底是什么? 1、輸入模塊: PLC的輸入接口為光電耦合器,由兩個發光二極度管和光電三極管組成。 其中發光二級管在光電耦合器的輸入端加上變化的電信號,發光二極管就產生與輸入信號變...

- 三菱plc模擬量模塊問題大全詳解
- 三菱plc如何模擬量輸入? 1。所謂的模擬量輸入其實就是接受外部的電壓或是電流值,把電壓或是電流這樣的模擬信號轉化成PLC可以識別的數字信號即數據(16位或32位),對應關系可以通過PLC參數設置,比如10V對應數字式4000,5V對應數字式2...

- 三菱PLC編程軟件如何安裝呢?
- 三菱PLC編程軟件如何安裝呢? 三菱PLC編程軟件的安裝步驟如下: 1、鼠標右鍵點擊下載好的三菱PLC安裝包,把安裝包解壓到指定文件夾。 2、解壓壓縮包之后,會有一個文件夾出現,打開文件夾,找到“setup”文件,鼠標左鍵雙擊安裝...

- 如何高效率的學會三菱PLC編程呢?
- 如何高效率的學會三菱PLC編程呢? 現在我們學習PLC有日系的和歐美系列的兩類。對于日系PLC常見的有三菱PLC、歐姆龍PLC以及松下PLC等。對于日系的PLC我們學會一款就可以很快地掌握其它品牌的PLC了。今天我們以三菱PLC為例,來聊聊如何快...

- 三菱PLC數據寄存器D的數值范圍是多少?是怎么算來的?
- 三菱PLC數據寄存器D的數值范圍是多少?是怎么算來的? 16位寄存器,有符號數-32768~32767,無符號數0~ffff有符號數最高位符號位,數值2的15次方,無符號數2的16次方三菱Q系列PLC的鏈接繼電器B和鏈接寄存器W與普通繼電器M和普通寄存器...

- 三菱PLC有幾種通訊方式?三菱plc如何做個通訊指示?
- 三菱PLC有幾種通訊方式 三菱PLC通訊方式應用在目前的技術領域的有并行通信、單工通信,一般不會同時應用在同一個地區的通信中,并行通信、并行通信和并行通信的具體介紹如下: 1、串行通信 串行通信作為計算機通信方式之一,主要...

- 西門子plc和三菱plc編程理念不一樣,那到底哪里不一樣?
- 很多plc培訓機構和營銷號,天天談plc不同的編程理念,如三菱plc和西門子plc不同的編程概念,除了像復讀機一樣說幾十年的不知所云,不能再說別的。今天我要和你談談所謂的plc編程理念。也就是三菱plc和西門子plc,它們之間所謂的編程理念不同...

- 三菱PLC如何實現MODBUS通信?三菱PLC有哪些通訊模塊?
- 三菱PLC如何實現MODBUS通信 Modbus網絡傳輸標準的Modbus口是使用RS-232-C兼容串行接口,定義了連接口的針腳、電纜、信號位、傳輸波特率、奇偶校驗,控制器能直接或經由Modem組網。 控制器通信使用主一從技術,即僅一設備(主設備)...




